Sažetak
Sadašnji izum pruža toplo kovanje praznog za hladno završnu obradu kovanja s tri pin. Toplo kovanje prazno sastoji se od ručke i glave u obliku zdjele, a unutarnja površina šupljine glave raspoređena je s više sfernih staza u obodnom smjeru, s sfernim površinama između susjednih sfernih staza; Presjek na dnu unutarnje šupljine glave je referentna površina glave zdjele. Vanjska površina iznad referentne površine glave dna zdjele podijeljena je u dva dijela. Prva vanjska površina odgovara kugličnoj stazi unutar glave, a druga vanjska površina odgovara sfernoj površini unutar glave. Prva vanjska površina ima nagib nagiba koji se proteže prema gore od referentne površine glave zdjele, a aksijalna tangencijalna linija koja odgovara nagibu nacrta tvori kut s osi toplog kovanja. Druga vanjska površina ima nagib nagiba koji se proteže prema gore od referentne površine glave zdjele, a aksijalna tangencijalna linija koja odgovara nagibu nacrta tvori kut s osovinom toplog kovanja. Prvi i drugi kut nisu jednaki. Sadašnji izum izbjegava pojavu pukotina na dnu šupljine kalupa glave zbog prekomjernog tlaka rashladnog sredstva i poboljšava kvalitetu proizvodnje vilice od tri osovine osovine.
Opis
Toplo kovanje praznina za hladno završetak od tri pin vilice precizno odbacivanje
tehničko područje
Predmetni izum odnosi se na područje proizvodne tehnologije vilica s tri osovine s tri klina, posebno na topli kovanje za hladnu doradu preciznih otkivaka vilice s tri osovine.
Pozadinska tehnologija
Prijenosna osovina automobila izravna je pogonska komponenta za rotaciju kotača. Kada automobil radi, okretni moment motora prenosi se na osovinu mjenjača preko višestupanjskog prijenosa i vozača, a zatim se prenosi na kotače pomoću osovine mjenjača, gurajući automobil naprijed ili natrag. To je važna komponenta za prijenos momenta u automobilu. Vilica s tri osovine je glavna nosiva komponenta osovine prijenosa automobila, a njezino radno stanje je izuzetno složeno. Njegova izvedba izravno utječe na sigurnost i pouzdanost automobilskog prijenosa.
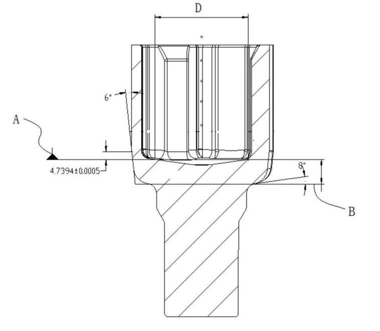
Tri vilice osovine općenito se proizvode pomoću kombiniranog postupka toplih i hladnih oblikovanja. Tipični postupak ovog procesa (uzimanje preciznog kovanja vilice s tri osovine osovine s Univerzalnim spojevima konstantne brzine u automobilu kao primjer) uključuje: rezanje → eksplozija snimke → Prethodni grafit → indukcijsko zagrijavanje → Ručica za istiskivanje prema naprijed → Upterećenje prethodno formiranog Šupljina glave → Obrtanje obrnute ekstruzije toplih kova prazna → Hlađenje kontroliranog temperature → Shot Bloing → Saponification → Hladno završnoj završnici (hladnoća s smanjenim promjerom). Toplo kovanje prazno formirano obrnutim ekstruzijom izravno utječe na naknadni postupak oblikovanja hladnog završnog obrada. Toplo kovanje prazno korišteno u postojećem hladnom završnom obradi ima nagib nacrta od 6 stupnjeva s visinom od oko 5 mm (prikazano kao 4,739 ± ± 0. 5 na slici 1) počevši od referentne površine zdjele, kao glave, kao prikazan na slici 1. nagib nacrta od 6 stupnjeva proteže se sve do ravnine dna glave B gdje su glava i ručka povezani, a odgovarajući promjer unutarnje šupljine na referentnoj površini zdjele A glave je D. U stvarnoj proizvodnji , Ako je prazan dizajn tople kovanja s tri osovine osovine nepravilno, pukotine se mogu pojaviti na dnu šupljine kalupa zbog prekomjernog tlaka hladnog ekstruzije tijekom hladnog završetka šupljine glave.
Stoga je potrebno toplo krivotvorenje s tri pin.
Sažetak izuma
S obzirom na gore navedene nedostatke postojeće tehnologije, svrha ovog izuma je osigurati sirovi topli kovanje za hladnu završnu obradu preciznog kovanja vilice s tri osovine, koji se koristi za rješavanje problema pukotina koje se lako pojavljuju kada se toplo kovanje ulazi u proces hladne dorade u postojećoj tehnologiji.
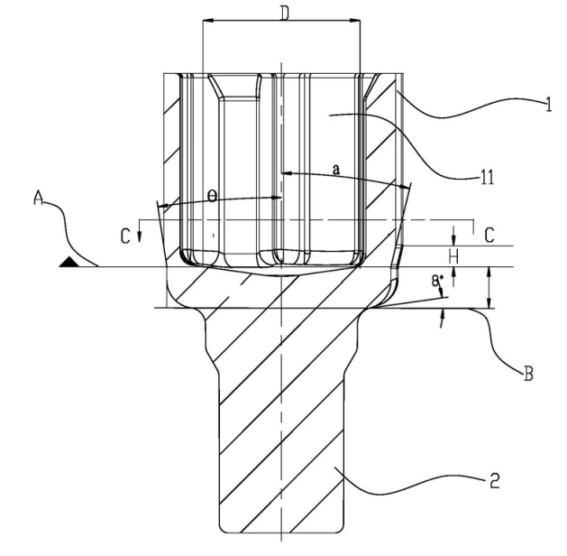
Kako bi se postigli gornji ciljevi i drugi srodni ciljevi, predmetni izum daje sirovi topli kovanje za hladnu završnu obradu preciznog kovanja vilice s tri osovine. Toplo kovanje sastoji se od ručke i glave u obliku zdjele, a površina unutarnje šupljine glave raspoređena je s više staza kuglica u obodnom smjeru, s površinama kuglica između susjednih staza kuglica; Poprečni presjek na dnu unutarnje šupljine glave je referentna površina dna zdjele glave. Vanjska površina iznad referentne površine dna zdjele glave podijeljena je na dva dijela, jedan dio se naziva vanjska površina jedan i odgovara putanji lopte unutar glave, a drugi dio se naziva vanjska površina dva i odgovara na kuglastu površinu unutar glave. Vanjska površina ima nagib 1 koji se proteže prema gore od referentne površine dna zdjele glave, a aksijalna tangenta koja odgovara nagibu 1 tvori kut 1 s osi toplog otkovka. Vanjska površina dva ima nagib dva koji se proteže prema gore od referentne površine dna posude, a aksijalna tangenta koja odgovara nagibu dva formira kut dva s osi toplog otkovka. Kut jedan i kut dva nisu jednaki.
Poželjno je da poprečni presjek gdje je ručka povezana s glavom bude donja ravnina glave, a aksijalna tangenta koja odgovara vanjskoj površini između donje ravnine glave i referentne ravnine dna zdjele glave je paralelna do osi toplog otkova.
Poželjno je da je aksijalna visina nagnute ravnine 6-8 mm; A prvi kut je 13 stupnjeva do 15 stupnjeva.
Preferirani kut je 14 stupnjeva.
Poželjno, aksijalna visina nacrta nagnute površine dva je 6-8 mm; A spomenuti kut je između 8 i 10 stupnjeva.
Preferirani kut je 11 stupnjeva.
Poželjno, površinska i vanjska površina dvije povezane su prijelaznom površinom, koja ima nagnutu površinu koja se nacrta tri koja se proteže prema gore od referentne površine glave dna zdjele. Aksijalna tangentna linija koja odgovara nagibnom površini nagiba tri tvori kut tri s osi toplog kovanja, a kut tri je 10 stupnjeva do 12 stupnjeva.
Poželjno, visina nagiba nagiba tri je 6-8 mm.
Kao što je gore opisano, topli kovanje koje se koristi za hladnu završnu obradu preciznog kovanja vilice s tri osovine iz ovog izuma ima sljedeće korisne učinke: vanjska površina glave podijeljena je u dva dijela, jedan za putanju kugle glave šupljinu, a drugi za sferičnu površinu šupljine glave, a dva su dijela različito dizajnirana da imaju različite kutove kutova propuha, čime se smanjuje pritisak hladnog istiskivanja tijekom postupak hladne dorade, izbjegavanje prekomjernog pritiska rashladnog sredstva koji može uzrokovati pukotine na dnu šupljine glave i poboljšanje kvalitete proizvodnje vilice s tri osovine.
Priloženi opis slike
Na slici 1 prikazan je shematski dijagram toplo krivotvorenje vilice s tri osovine u prethodnoj umjetnosti.

Na slici 2 prikazan je shematski dijagram toplo kova s tri pin -vilice.

Na slici 3 prikazan je prikaz presjeka duž CC linije na slici 2.

Specifična metoda provedbe
Sljedeće specifične utjelovljenja ilustriraju implementaciju ovog izuma, a oni koji su upoznati s ovom tehnologijom mogu lako razumjeti druge prednosti i učinke ovog izuma iz sadržaja objavljenog u ovoj specifikaciji.
Pogledajte slike 1 do 3. treba napomenuti da su strukture, proporcije, veličine itd. Prikazane u priloženim crtežima ove specifikacije samo u svrhu suradnje sa sadržajem otkrivenim u specifikaciji, za razumijevanje i čitanje od onih koji su upoznati s ovom tehnologijom i nisu namijenjeni ograničavanju uvjeta pod kojima se ovaj izum može provesti. Stoga nemaju nikakvo suštinsko tehničko značenje. Svaka izmjena strukture, promjena odnosa proporcije ili prilagođavanje veličine i dalje bi trebala spadati u opseg tehničkog sadržaja otkrivenog u ovom izumu, bez utjecaja na učinkovitost i ciljeve koji se mogu postići sadašnjim izumom. U međuvremenu, izrazi korišteni u ovoj specifikaciji, poput "gore", "dolje", "lijevo", "desno", "srednji" i "jedan", samo su radi jasnoće u opisu i nisu namijenjeni Ograničite opseg ovog izuma. Sve promjene ili prilagodbe u njihovim relativnim odnosima, bez značajnih promjena u tehničkom sadržaju, također će se smatrati opsegom ovog izuma.
Kao što je prikazano na slikama 2 i 3, ovaj izum daje sirovi proizvod za toplo kovanje za hladnu završnu obradu preciznog kovanja vilice s tri osovine. Toplo kovanje sadrži dio ručke 2 i dio glave 1 u obliku zdjele. Unutarnja površina šupljine dijela glave 1 raspoređena je s više staza kuglica 11 u obodnom smjeru, a susjedne staze kuglica su sferne površine 12; Poprečni presjek na dnu unutarnje šupljine glave je referentna površina A dna zdjele glave. Vanjska površina iznad referentne površine A dna posude podijeljena je na dva dijela, jedan dio se naziva vanjska površina F1 i odgovara kanalu za trčanje 11 unutar glave, a drugi dio se naziva vanjska površina F2 i odgovara sfernoj površini 12 unutar glave. Vanjska površina F1 ima nagnutu ravninu 1 koja se proteže prema gore od referentne površine A dna posude, a aksijalna tangenta koja odgovara nagnutoj ravnini 1 formira kut od jedan θ s osi toplog otkovka. Vanjska površina F2 ima nagnutu ravninu 2 koja se proteže prema gore od referentne površine A dna posude, a nagnuta ravnina 2 odgovara nagnutoj ravnini 2. Aksijalna tangenta otkovka tvori kut 2a s osi toplog otkova, a kut θ i kut 2a nisu jednaki. Predmetni izum dijeli vanjsku površinu glave na dva dijela, jedan za putanju lopte 11 unutar šupljine glave i drugi za sferičnu površinu 12 unutar šupljine glave. Napravljeni su različiti dizajni za dva dijela kako bi imali kutove propuha pod različitim kutovima, kako bi se smanjio pritisak hladnog istiskivanja tijekom procesa hladne završne obrade, izbjeglo da prekomjerni pritisak rashladnog sredstva uzrokuje pukotine na dnu šupljine glave i poboljšala kvaliteta proizvodnje. od tri pin vilice preciznih otkovaka.
Kako bi se bolje smanjio tlak rashladnog sredstva na toplo kovanje praznog tijekom procesa hladnog završnog obrada, u ovom izvedbi, presjek na spoju između ručke 2 i glave 1 je dna ravnina B glave. Aksijalna tangenta vanjske površine između donje ravnine B glave i referentne ravnine zdjele A glave paralelna je s osi toplog kovanja, to jest vanjska površina između donje ravnine B glave i Referentna ravnina zdjele A od glave nema nagiba i cilindrična je.
Kako bi se izbjegle pukotine tijekom procesa hladnog završetka, aksijalna visina h nacrta nagnute površine 1 u ovoj izvedbi je 6-8 mm; A kut θ je 13 stupnjeva do 15 stupnjeva. Preferirana aksijalna visina H nagnute ravnine je 7,5 mm, a kut jedan θ je 14 stupnjeva. Da bi se izbjegla pojava pukotina tijekom procesa hladnog završetka, aksijalna visina h kuta nacrta 2 u ovoj izvedbi je 6-8 mm; A kut 2A je između 8 i 10 stupnjeva. Preferirana aksijalna visina H nagnute ravnine 2 je 7,5 mm, a kut 2A 11 stupnjeva. Ova postavka smanjuje područje poprečnog presjeka referentne ravnine zdjele A na glavi, smanjuje brzinu smanjenja dijela hladnog završnog dijela i smanjuje tlak hladnog ekstruzije.
U ovoj izvedbi, vanjska površina Fl i vanjska površina F2 povezane su prijelaznom površinom F3, kao što je prikazano na slici 3. Prijelazna površina F3 ima nagnutu površinu tri koja se proteže prema gore od referentne površine A dna zdjele glave. Aksijalna tangenta koja odgovara nagnutoj površini tri formira kut tri s osi toplog otkovka, a kut tri je 10 stupnjeva do 12 stupnjeva. Preferirana visina za kut gaza tri je 6-8 mm.
Na temelju dizajna toplog kovanja koji se koristi za hladnu završnu obradu gore spomenute vilice s tri osovine, simuliranog korištenjem softvera za simulaciju oblikovanja 3D kovanja DEOFORM, maksimalno opterećenje pritiskom pri hladnom ekstruzijom je 478 KN. U usporedbi s toplim otkivkom koji se koristi za hladnu završnu obradu vilice s tri osovine u postojećoj tehnologiji, maksimalno opterećenje pritiskom pri hladnom ekstruzijom smanjeno je za 13,5%, čime se izbjegavaju pukotine na dnu zdjele za otkivanje tijekom hladne završne obrade i poboljšava životni vijek. od kovanja.
Ukratko, neobrađeni proizvod za toplo kovanje koji se koristi za hladnu završnu obradu preciznog kovanja vilice s tri igle osovine ovog izuma dijeli vanjsku površinu glave na dva dijela, jedan za putanju kugle 11 šupljine glave, a drugi za kuglu površina 12 šupljine glave. Napravljeni su različiti dizajni za dva dijela kako bi imali različite kutove propuha, kako bi se smanjio pritisak hladnog istiskivanja tijekom procesa hladne završne obrade, izbjeglo da prekomjerni pritisak rashladnog sredstva uzrokuje pukotine na dnu šupljine glave i poboljšala kvaliteta proizvodnje. vilice s tri osovine. Prema tome, ovaj izum učinkovito prevladava razne nedostatke u stanju tehnike i ima visoku industrijsku uporabnu vrijednost.
Gornje izvedbe su samo ilustrativne za principe i učinke ovog izuma, i ne namjeravaju ograničiti ovaj izum. Svatko tko je upoznat s ovom tehnologijom može modificirati ili promijeniti gornja ostvarenja bez odstupanja od duha i opsega ovog izuma. Prema tome, sve ekvivalentne modifikacije ili promjene koje su napravili oni s uobičajenim znanjem u relevantnom tehničkom području bez odstupanja od duha i tehničkih ideja otkrivenih u ovom izumu i dalje bi trebale biti obuhvaćene zahtjevima ovog izuma.
2024 prosinac3.Tjedan WBM Preporuka proizvoda:
Kotrljajući matrice:
Kao jedan od profesionalnih proizvođača alata, nudi kalup za kotrljanje visoke tvrdoće, brzu isporuku i dobru uslugu.
https://www.bearingroller.com/tools/rolling-dies.html

