Sažetak
Uključuje progresivnu matricu koja se koristi za proizvodnju metalnih dijelova. Postoje gornja i donja sjedala kalupa, gornja i donja voditeljica, gornja i donja ploča za jastuke, konkavni predlošci, potporni prstenovi, unutarnji vodič, ploče za pražnjenja, granične ploče visine, opruge za pražnjenja, fiksne pločice, vijke za pražnjenje, vodilice i kalupi za konveks. Konveksni kalupi opremljeni su konveksnim kalupima rezanja rebra i konveksnim kalupima prije rezanja. Proces probijanja dijelova podijeljen je u rezanje rebara, prerezivanje i precizno rezanje. Utor za rezanje izbačen je na traku konveksnim kalupom za rezanje, a zatim je utor za rezanje odsječen kalupom za prije rezanja kako bi se grubo izrezao krajnje lice dijela. U odgovarajućem položaju, konveksna matrica preciznog rezanja koristi se za uklanjanje preciznog rezanja i precizno izrezati oblik dijela. Zbog oštrine kalupa rezanja rebra i plitke dubine rezanja rebra, ne samo da odsječe površinu materijala, već ima i mnogo manje vuče na površini materijala od normalnog probijanja. Zbog kompresije materijala tijekom formiranja, generirani kut kolapsa vrlo je mali i nije lako puknuti. Proces prije rezanja neće povećati kut kolapsa na površini dijelova. U postupku preciznog rezanja, grubi dijelovi rezanih rebara i prethodno rezani uklanjaju se kako bi se postigla veličina dijela.
Opis
Progresivna stripa
Tehničko polje
Ovaj se komunalni model odnosi na matricu, posebno poboljšanu progresivnu matricu za proizvodnju metalnih dijelova.
Pozadinska tehnologija
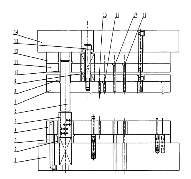
Progresivna matrica odnosi se na matricu opremljenu elastičnom pločom za pražnjenje i preciznim pozicioniranjem s vodećim igle za hranjenje, kao što je prikazano na slici 1. Postojeće progresivne stripke uglavnom imaju sjedalo donjeg matrica 1, donji vodič 2, donja ploča s jastukom 3, Accave Furters Form 7, Under Vodič Stupac 6, a Unutarnji vodič za otpuštanje stupca 7, a Unutarnji vodič za otpad, a u unutrašnjosti vodiča, a u unutrašnjosti, a u unutrašnjosti vodiča za otpuštanje stup 7, a zapušteni prsten 7, u unutrašnjost ploča za otpuštanje. Ploča 11, gornja ploča jastuka 12, vijak za pražnjenje 13, gornje sjedalo 14, vodilice 15, i konveksna matrica 16. Obično dijelovi proizvedeni prirodnim proizvodima koji proizvode zaobljene kutove, uključujući filete 21, svijetle pojaseve 22, opseg loma 23 i Burrs 24, na njihovom presjeku (vidi sliku 2). Pojava kutnog kolapsa nastaje zbog činjenice da se udaranje oslanja na smicanje sile kako bi se smanjio materijal. Tijekom postupka smicanja, materijal će proći plastičnu deformaciju prije loma, to jest, površinu materijala dijela srušit će se udarcem, formirajući kutni kolaps. Postojanje prijelaznog kuta urušavanja između površine dijela i presjeka na spoju luka smanjuje učinkovito područje presjeka; Za proizvode s ovim odjeljkom kao radni dio ili spoj između gornje površine i odjeljka kao radnog dijela, imat će značajan štetni učinak; Kao što je smanjenje životnog vijeka i operativna neosjetljivost. Postojeće metode za smanjenje kuta kolapsa uključuju smanjenje jaza za probijanje i čineći oštricu konveksnog matrice. Iako ova metoda može smanjiti neke kutove kolapsa, učinak nije idealan. U isto vrijeme, zbog malog jaza, konveksni kalup se brzo istroši, a konveksni kalup zahtijeva oštro oštricu, tako da je često potrebno popraviti kalup i izoštravati oštricu.
SUmmary of the Invention
Svrha ovog komunalnog modela je pružiti progresivnu matricu koja može značajno smanjiti kut kolapsa dijela probijanja i osigurati masovnu proizvodnju dijelova, smanjujući održavanje i popravak progresivnih matrica.
Ovaj komunalni model poboljšan je na temelju postojeće matrice, a dodatno je opremljen konveksnim matricom rezanja rebra i konveksnim matricama. Kut rezanja rebra može se odabrati od stupnja 2 0 do 6 0, a dubina rezanja je (0,2 ~ 0,5) t, gdje je t debljina materijala za stavljanje.
Zbog prisutnosti udarca rezanja rebra i udarca prije rezanja u ovom modelu korisnog modela, značajno je poboljšan mehanizam za deformaciju staska; Podijelite postupak udaranja u tri koraka, naime: rezanje rebra+prerezivanje+precizno rezanje. U određenom koraku u progresivnom strigiranju, postavlja se konveksni matrica rebra, a na materijal se izbacuje odgovarajući utor za rezanje rebra; U ovom kalupu, u odgovarajućem položaju u sljedećem koraku, prerezani konveksni kalup odreže utor rebra i otprilike izreže krajnje lice dijela. Položaj je na određenoj udaljenosti od položaja dijela, a ta udaljenost je precizno dodatak za rezanje. Na sljedećem koraku, dodatak za precizno rezanje uklanja se preciznim rezanjem konveksnog rezanja na odgovarajućem položaju, a oblik dijela je precizno rezan.
Koristeći ovu metodu, zbog oštrine udara retka rebra i plitke dubine rezanja rebara, ne samo da je na površini materijala, već je i povlačenje udarca na površini materijala mnogo manji od normalnog probijanja. U međuvremenu, zbog kompresije materijala tijekom formiranja, rezultirajući kut kolapsa je vrlo mali. Konveksni kalup za rezanje izrađen je od materijala s dobrom žilavošću, a dubina rebra za rezanje je plitka, tako da ga nije lako puknuti. U postupku prije rezanja rezani materijal je odrezan bez utjecaja na površinu dijela, odnosno bez povećanja kuta kolapsa. U postupku preciznog rezanja, grubi dijelovi rezanih rebara i prethodno rezani uklanjaju se kako bi se postigla veličina dijela. Zbog vrlo male količine preciznog rezanja, kut kolapsa u osnovi se ne povećava.
Nakon praktične proizvodnje različitih materijala u više kalupa, kut kolapsa poprečnog presjeka kontrolira se vrlo malim i može osigurati stabilnu proizvodnju u velikim količinama; Poboljšana kvaliteta i učinkovitost. Ovaj uslužni model posebno je prikladan za utiskivanje proizvodnje metalnih materijala kao što su željezo i bakar debljine 0. 8-5 mm.
Opis priloženog slike

Slika 1 je shematski dijagram strukture postojeće progresivne matrice.

Slika 2 prikazuje efektni dijagram dijelova proizvedenih postojećim progresivnim matricama. Na slici 2, donja desna slika je shematski dijagram u smjeru A.

Slika 3 je shematski dijagram strukture utjelovljenja sadašnjeg modela korisnosti.

Slika 4 je shematski dijagram procesa proizvodnje utiskanja u utjelovljenje sadašnjeg modela korisnosti.

Slika 5 je shematski dijagram konveksnog kalupa rezanja rebra u utjelovljenju sadašnjeg korisničkog modela.

Slika 6 je shematski dijagram prethodno izrezanog konveksnog kalupa prema utjelovljenju sadašnjeg modela korisnog rada.
Utjelovljenje
Sljedeće utjelovljenja dodatno će ilustrirati sadašnji model korisnosti sa strukturnim crtežima.
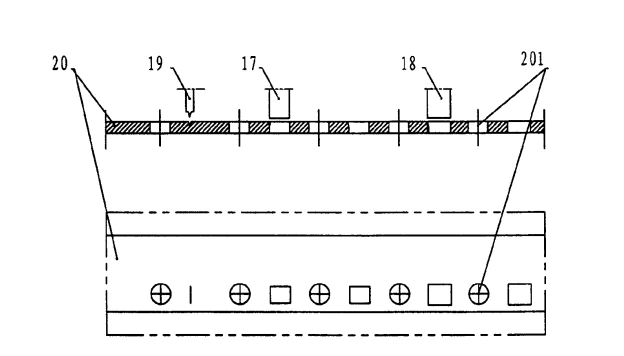
Kao što je prikazano na slikama 3 i 4, sadašnji komunalni model poboljšao je postojeću progresivnu matricu (vidi sliku 1). Progresivna matrica za žigosanje opremljena je donjim sjedalom 1, donjim vodećim rukavom 2, donjim jastukom ploča 3, konkavnim predloškom 4, potpornim prstenom 5, unutarnjim vodičima stupca 6, ploča za ispuštanje 7, graničnom pločom visine 8, propuštenim dijelom 15, gornjim pločama od 13, gornjim pločama od fiksne pločice 12, gornjim obrokom zamrznutog ploča 11, gornjim pločama zamrznutog ploča 11, fiksnom pločom zamrznutom pločom 11, fiksnom pločom od 12, fiksnom pločom zamrznutom pločom 11, fiksnom pločom od 12, fiksnom pločom zamrznutom pločom 11, fiksnom pločom zamrznutom pločom 11, fiksnom pločom zamrznutom pločom 11, fiksnom pločom zamrsnom pločom 12, gornjom pločom zamrznutom pločom 12, gornjim oblogom za otpad. Konveksna matrica opremljena je konveksnim diem rezanjem rebra 19, konveksom prije rezanja 17, a precizno rezanje konveksnog matrice 18. Podijelite proces proizvodnje žigosavanja u tri koraka: rezanje rebra+prerezivanje+precizno rezanje; Na određenom koraku u progresivnom utismu, postavljen je konveksni matrica rezanja 19, a utor za rezanje rebra je na odgovarajući način izbačen na traci 20 (s vodinom rupom 201 na traci). U ovom kalupu, u odgovarajućem položaju u kasnijem koraku, prethodno rezani konveksni kalup 17 odsječe utor rebra i otprilike izreže krajnje lice dijela. Položaj je na određenoj udaljenosti od položaja dijela, a ta udaljenost je precizni dodatak za rezanje; Na sljedećem koraku, precizno rezanje udara 18 koristi se za odsjedanje preciznog rezanja na odgovarajućem položaju, a oblik dijela je precizno izrezan.
Na slici 5, kut rezanja A rebrastih udara 19 može se odabrati kao 2 {0 stupanj ~ 6 0 stupanj, a dubina rezanja je (0. 2 0. 5) t, gdje je t debljina materijala žigosavanja, obično 0,8 ~ 5mm; L je udaljenost između položaja dijela i središta rebra za rezanje, u rasponu od 0,1 do 1 mm.
Na slici 6, L predstavlja udaljenost između položaja dijela i presječenog udarca, u rasponu od 0. 1 do 1 mm.
2025 3. ožujkaTjedan preporuka WBM proizvoda:
Visoke kromirane čelične kuglice:
G5, G10, G16 Naša kromirana kugla obično proizvodi prema GBT 308. 1-2013 i ISO 3290-1: 2014 Standardi. Tvrdoća će biti prilagođena bazi na vašem zahtjevu.
https://www.bearingroller.com/rolling-elements/steel-ball/high-hrome-teel-balls.html

